Fundamental Technologies

Voyager LECP Pages

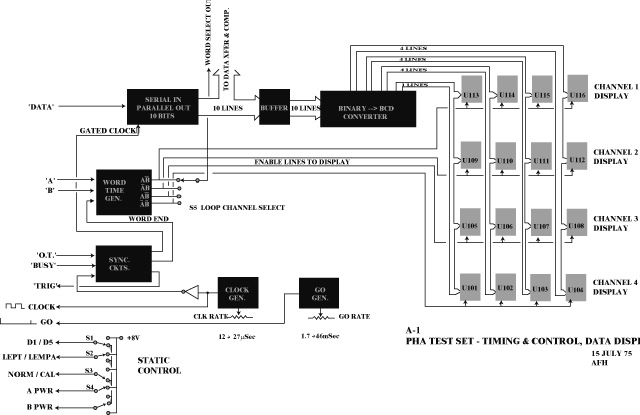
Figure A-1. PHA test set - timing & control, data display.

Overview or thumbnail below. Click here for PDF file (large).

Return to Voyager LECP Data Analysis Handbook Table of Contents.
Return to Fundamental Technologies Home Page.

Last modified 6/20/03, Tizby Hunt-Ward
tizby@ftecs.com
Figure restoration by T. Manweiler